CAFC Update38

2006.11.20 


The Massachusetts Institute Of Technology et al.,
Plaintiffs-Appellants,
v.
Abacus Software and Microsoft Corporation et al.,
Defendants,

回路構成(Circuitry)に米国特許法第112条パラグラフ6が
適用されるか


1.
概要

 米国特許法第112条パラグラフ6(以下、p6)は、次のように規定している。
 「結合に関するクレーム中の要素は,その構造,材料又はこれを裏付ける作用を詳述することなく,特定の機能を達成する手段又は工程として記載することができる。このようなクレームは,明細書に記載されたそれと対応する構造,材料又は作用及びこれと同等のものを含むと解釈されるものとする*1。」

 つまりクレームはmeans for 〜ing(〜する手段)と、具体的な構造を特定することなく作用的・機能的に記載することができる。しかし、その代償として、その権利範囲は明細書に記載された構造及びその均等物に限定解釈される。そのため機械の分野においては「means for 〜ing」を用いた記載を避ける実務がなされている。
 日本では請求項の構成要件を「手段means」で記載する事が多く、また電気・情報処理の分野においては構造ではなく作用的な記載を行う事が多い。

 本事件ではMIT特許のクレーム中「aesthetic correction circuitry(審美的補正回路(構成))」が米国特許法第112条p6の適用を受けるか否かが問題となった。また、Microsoftはこの審美的補正回路の機能をソフトウェアで実現しているが、審美的補正回路の権利範囲がハードウェアだけではなくソフトウェアにまで及ぶのか否かも問題となった。


2.背景

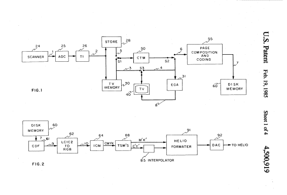
 MIT(以下、原告)は、U.S. Patent No.4,500,919(以下、919特許)を所有している。919特許は、カラー原画のコピーを生成する色処理システムに関する。919特許は3つの主な構成要件からなる。(a)原画をスキャンするスキャナ(b)スキャンした画像を表示するディスプレイ及びインタラクティブに編集する審美補正回路(c)着色料選択機構。
 (b)の審美的補正回路の解釈が問題となった。クレーム1の構成要件(b)には、 「修正される外見信号(RGB信号)を生成するために前記外見信号へ審美的に望まれる変更を、インタラクティブに取り込む審美補正回路」
と記載されている。つまり、スキャナで画像を取り込み、これをディスプレイに表示する。ディスプレイに表示される画像と、実際に印刷される画像とは少し異なるため、この審美的補正回路により、オペレータが画面を見ながらインタラクティブにRGB信号を変更するものである。



 地裁は、審美的補正回路がmeansを用いていないにもかかわらず、112条p6が適用されると判断した。そして、その具体的な構成として明細書に記載されたColor Translation Module(CTM)及びこの均等物に限定されると判断し、特許非侵害との判決をなした。原告はこれを不服としてCAFCへ控訴した。


3.CAFCの争点

(1)Circuitryは112条p6の適用を受けるか?
 「審美的補正回路(構成):aesthetic correction circuitry」はmeansの文言を含んでいないので、原則として米国特許法第112条p6は適用されない。しかし、meansを含まない場合でも、以下の場合は米国特許法第112条p6が適用される。
「クレームが十分明確な構造を記述していない場合」または、
「当該機能を達成するのに十分な構造を記述することなく機能を記述している場合」*3。
 つまり、meansを用いていなくとも、作用的な記載である場合、米国特許法第112条p6が適用される。本事件では、クレームの記載及び明細書の記載に照らして、米国特許法第112条p6が適用されるか否かが問題となった。

(2)審美的補正回路はハードウェアに限定解釈されるか?  明細書には、審美的補正回路の具体的な構成として、5つのモジュール(CTM)を用いた電気回路が記述されている。また、CTMによるいくつかの演算処理は、ハードウェアまたはソフトウェアのいずれかにより実現できるとも明細書には記載されている。

 Microsoft(以下、被告)はソフトウェアにより、審美的補正回路の機能を実現している。この場合に、審美的補正回路がソフトウェアによる処理をも権利範囲に含むのか否かが問題となった。


4.CAFCの判断

(1)Circuitry, Circuitには米国特許法第112条p6が適用されない。
 CAFCは、「審美的補正回路」がmeansを含まず、また、辞書の定義及び過去の判例から「審美的補正回路」には米国特許法第112条p6が適用されないと結論づけた。
 辞書の定義では、回路構成(circuitry)とは、ラジオまたはテレビ受像器としての電気回路またはネットワークの詳細な設計を意味し、また回路(circuit)とは、変位電流を含む電流の通り道、電子素子・導体の組み合わせ回路を意味する*4。
 従って回路構成(circuitry)そのものが構造を意味すると解釈される。
 また、Circuitに関しては以下の2判例が知られている。これらの判例ではいずれも、米国特許法第112条p6が適用されていない。
Linear事件*5では、「構造の文言である「回路circuit」が、回路機能の詳述を伴う場合、「機能+回路」の記載は当業者にとって十分に構造を意味するものであり、米国特許法第112条p6は適用されない。」と判示された。
またApex事件*6では、「interface, programming, logic等の適切な識別子を伴う「回路circuit」は、当業者にとって構造を意味する。」と判示された。

 本事件においても単に回路だけではなく構造を示す機能(審美的補正)が記述されている。本事件における回路への入力は、スキャナにより生成される「外見信号(RGB信号)」であり、その目的は、インタラクティブに外見信号へ審美的に希望される変更を取り込むことである。
 CAFCは、「回路circuit」に対するこれらの処理に関する記述により、米国特許法第112条p6を適用するのは妥当でないと判断した。

(2)審美的補正回路はハードウェアに限定解釈される。
 審美的補正回路の機能をソフトウェアにより実現する被告は、「回路」はハードウェアに限定されるべきと主張した。一方、原告は、ハードウェア及びソフトウェアの双方を含むべきと主張した。
 これに対しCAFCはハードウェアに限定すべきと判断した。審美的補正回路に対応するものとして実施例には、CTM(Color Translation Module)が記載されている。CTMは、入力誤差を補正するための5つのハードウェアモジュールにより構成されている。すなわち、明細書の記載を参酌すれば審美的補正回路はハードウェアであると解釈される。
 しかし、明細書には、CTMによるいくつかの演算処理は、ハードウェアまたはソフトウェアのいずれかにより実現できると記載されている。
 これに関しCAFCは、明細書にはCTMが5つのモジュールを用いたハードウェアとして繰り返し記載されており、このような記載があったとしても、その解釈に変わりは無いと判断した。しかも、出願当時の辞書には「回路」にソフトが含まれていない。以上のことから、CAFCは、審美的補正回路をハードウェアに限定解釈した。


5.結論

 CAFCは、審美的補正回路に米国特許法第112条p6を適用した地裁の判決を無効とし、本判決に従った審理をさらに行うよう命じた。


6.コメント

 電気・情報処理の分野においては機能的な手段として記載することが多いものの、できれば米国特許法第112条p6の適用を避けたいのが本音である。本判決では、circuit, circuitryが原則米国特許法第112条p6の適用を受けないことが明示された。
 その他、「scanner」の文言解釈、及び、「着色料選択機構」が米国特許法第112条p6の適用を受けるか否かも問題となった。前者は、Phillips*7判決に従い、明細書に加えて辞書を用いた文言解釈がおこなわれた。後者は、機構が十分に構造を意味するものではないとして米国特許法第112条p6の適用を受けると判示された。当該判決では、過去の判例において、どのような記載が米国特許法第112条p6の適用を受けるか多数例示されており参考になる。
 また、審美的補正回路は、ハードウェアに限定解釈された。このような限定解釈を避けるためには、現行のプラクティスで用いられているcomputer readable medium等のクレームを記載しておくと共に、実施例中にフローチャートを記載し、ソフトウェアによる処理が可能である点を明記しておく必要がある。また、逆にソフトウェアで主に処理を行うが、ハードウェアによる実装の可能性がある場合は、ハードウェア構成図を用い、各ハードウェアの動作を実施例中に記載しておく必要がある。
判決 2006年9月13日
以 上

【関連事項】

判決の全文は連邦巡回控訴裁判所のホームページから閲覧することができます[PDFファイル]。
http://www.fedcir.gov/opinions/05-1142.pdf

【注釈】
*1 特許庁HP(http://www.jpo.go.jp/shiryou/index.htm)
*2 919特許のクレーム1は以下のとおり。
1. A system for reproducing a color original in a medium using a selected multiplicity of reproduction colorants, the system comprising in serial order:
a. a scanner for producing from said color original a set of three tristimulus appearance signals dependent on the colors in said original;
b. display means connected to the scanner for receiving the appearance signals and aesthetic correction circuitry for interactively introducing aesthetically desired alterations into said appearance signals to produce modified appearance signals; and
c. colorant selection mechanism for receiving said modified appearance signals and for selecting corresponding reproduction signals representing values of said reproducing colorants to produce in said medium a colorimetrically-matched reproduction.
*3 CCS Fitness, Inc. v. Brunswick Corp., 288 F.3d 1359, 1369 (Fed. Cir. 2002)
*4 Webster's Third New International Dictionary, 408-09 (1968 ed.)、Dictionary of Computing 75 (4th ed. 1996)
*5 Linear Tech. Corp. v. Impala Linear Corp., 379 F.3d 1311, 1320 (Fed. Cir. 2004)
*6 Apex Inc. v. Raritan Computer, Inc., 325 F.3d 1364, 1373 (Fed. Cir. 2003)
*7 Phillips v. AWH Corp., 415 F.3d 1303, 1315 (Fed. Cir. 2005) (en banc)


Copyright 2006 KOHNO PATENT OFFICE