CAFC Update40

2007.1.19 


DePuy Spine, Inc. et al.,
Plaintiffs-Appellants,
v.
Medtronic Sofamor Danek, Inc. et al.,
Defendants-Cross Appellants,

クレーム構成要件が無価値化される場合、均等とはいえない


1.
概要

 クレーム解釈において、厳密に文言どおりに解釈した場合、わずかな文言の相違で特許の非侵害となる問題がある。そこで、クレームの文言と均等なものまで権利範囲を拡張する均等論が存在する。

 ただし、均等論による権利解釈の場合、どこまでが均等といえるかが問題となる。クレームにおける構成要件とイ号装置の構成との相違が本質的であり、イ号装置の構成をクレームの構成要件に適用した際に、当該クレーム構成要件が無価値化(vitated)される場合、イ号装置は均等といえない*1

 本事件では、クレームの文言”spherically-shaped(球形)”の解釈において、イ号の「円錐形」が、均等か否かが争点となった。

2.背景

 DePuy(以下、原告)はU.S. Patent No. 5,207,678(以下、678特許)の特許権者である。678特許は背骨手術に用いるねじ及びねじ受け部に関する。このねじは手術中に椎骨に埋め込まれるものである。

 従来は、ねじを椎骨に正確にかつ堅固に固定することは困難であった。この問題を解決するために、678特許では、球形のスクリューヘッドを採用し、球形の穴をもつ受け部を採用した。これにより、受け部の回転運動は、ボールーソケットジョイントの如くなめらかなものとなる。

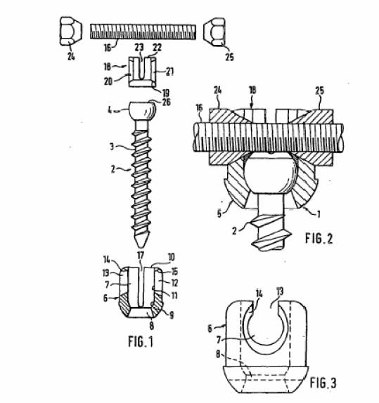
 678特許のクレーム1*2は以下のとおりである。
背骨部を安定させるための装置comprising

ねじ山を切ったシャフト部(3)及び該シャフト部の先端に設けられる球形ヘッド(4)をもつスクリュー(1)

前記ヘッド(4)に対してフレキシブルに接続される受け部(5)
該受け部(5)は、ロッド(16)を受けるための2つの穴を有し、

前記受け部内に設けられる受け室(7)
該受け室は、その一端に、前記シャフト部を貫通させるボア(8)、及び、前記スクリュー(1)のヘッド(4)を受けるための内部窪み球形部(9)を有し、

前記ボア(8)に対向して設けられ、前記スクリュー(1)を導く開口(10)

前記ヘッド(4)が前記窪み球形部(9)に対して押圧されるよう前記ヘッド(4)に力を働かせる圧縮部(18)



 2001年1月26日原告はMedtronic(以下、被告)を特許権侵害であるとして訴えた。被告はVertax(登録商標、以下イ号製品)なる製品を販売している。イ号製品のスクリューヘッドに隣接する受け部の内部は、球形ではなく略円錐形である。イ号製品及び678特許のクレーム1ともに、受け部における上部開口からスクリューを入れ込み、固定するものである。



 図中左がイ号製品、右側が678特許である。678特許では球形のスクリューヘッドを受ける受け部(内部窪み球形部)が、右図の”Spherical wall”で示す如く球形”spherically-shaped”であるのに対し、イ号製品の受け部は左図の”Conical wall”で示す如く、円錐形である点で相違する。球形スクリューヘッドは678特許では球形部全体で支持するが、イ号においては円錐であるので円錐のエッジ(斜面)で球形スクリューヘッドを支持することになる

 この場合、円錐形のイ号製品が、”球形spherically-shaped”とする678特許を侵害するか否かが争点となった。地裁では文言上及び均等論上も非侵害との判決がなされた*3。原告はこれを不服として控訴し、CAFCは均等論上の侵害を認めた。

3.CAFCの争点

球形と円錐形とは均等か?
 文言侵害に該当しない点については両者の間で争いはない。
 地裁は、イ号の円錐形状を球形の均等物と解釈した場合、「球形spherically-shaped」としたクレーム構成要件を無価値化するので、均等ではないと結論づけた。
 原告は両者の相違は非本質的でありクレーム構成要件を無価値化するものではなく、均等であると主張した。

4.CAFCの判断

(1)クレームの解釈は内的証拠(クレームの文言そのもの及び明細書)に基づき判断する
 CAFCは均等の判断の前に、”spherically-shaped”の解釈にあたり、Phillips大法廷判決*4に従い内的証拠に基づき、当該文言の解釈を行った。

(A)クレームの文言自体
 クレーム「球形部spherically-shaped portion」には、球形部のエッジを含まないとの限定、または、球形部のどの程度までヘッドが当接しているかの限定は全く存在しない。

 次にクレーム1に従属するクレーム4に注目する。 クレーム4は、「球形部の半径と、球形スクリューヘッドの半径とは、略同一である。」とするクレームである。そうすると、クレーム1はクレーム4よりも権利範囲は広いから、半径が等しくない場合もクレーム1は権利範囲に含むことになる。
 よってスクリューヘッドが球形部よりも小さな半径をもつ場合、球形部のエッジでスクリューヘッドが当接することになる。

(B)明細書に注目
 明細書には、エッジ(斜面)で接してはならない、または、球形部とスクリューヘッドとの間のコンタクト量を一定にしなければならないとは、何ら言及していない。

 CAFCは、以上のクレームの文言及び明細書の記載に鑑み、”球形部spherically-shaped portion”がエッジにて、球形スクリューヘッドを支持する点は権利範囲に含まれると解釈した。

(2)実質的な相違はなく、構成要件を無価値化しない
 原告の専門家証言人は、イ号装置の特別な要素(円錐形部)と、「球形部」構成要件との相違は非本質的であると述べた。これは円錐形状であっても、球形のスクリューヘッドを支持し、当該スクリューヘッドの自由な動きを可能にすると共に、圧縮部がはめ込まれた場合でも、スクリューヘッドは受け部に堅固に固定されるからである。
 従ってCAFCはクレームの球形を非本質的な相違点しかない円錐形に換えたとしても、当該構成要件は無価値化されないと判断した。そして両者は均等であると判断した。

5.結論

 CAFCは、球形部と円錐形部とが非均等とした地裁の判決を無効とし、本判決に従って審理をさらに行うよう命じた。

6.コメント

 クレーム構成要件の一部を置換物に置き換えた場合に、当該クレーム構成要件が無価値化される場合、イ号装置は、当該構成要件を具備せず、特許非侵害とされる。
 無価値化されるか否かの判断は、Phillips判決に従うクレーム解釈及び相違点が本質的か否かどうかにより判断される。日本のボールスプライン最高裁判決*5で判示された置換可能性の要件と考えを同じくするものである。
本件は、構造の相違が視覚上明確であり、均等の分析を行う上で参考となる判例である。
判決 2006年11月20日
以 上

【関連事項】

判決の全文は連邦巡回控訴裁判所のホームページから閲覧することができます[PDFファイル]。
http://www.fedcir.gov/opinions/05-1311.pdf


【注釈】
*1 Warner-Jenkinson, 520 U.S. at 39 n.8; Metro. R.R. Co. v. Moore, 121 U.S. 558, 569 (1887)
*2 678特許のクレーム1原文は以下のとおり。 1. Device for stabilizing spinal column segments, comprising a pedicle screw (1) having a threaded shaft portion (3) and a spherically-shaped head (4) at the end of said threaded shaft portion, a receiver member (5) flexibly connected to said head (4), said receiver member being provided with two holes for receiving a rod 916) [sic:(16)], a receiver chamber (7) being provided within said receiver member (5), the receiver chamber (7) having at one end thereof a bore (8) for passing the threaded shaft portion (3) therethrough and an inner hollow spherically-shaped portion (9) for receiving the head (4) of said screw (1), an opening (10) being provided opposite said bore (8) for inserting said screw (1), said device further comprising a compression member (18) for exerting a force onto said head (4) such that said head is pressed against the hollow spherically-shaped portion (9).
*3 DePuy Acromed, Inc. v. Medtronic Sofamor Danek, Inc., No. 01-10165-EFH (D. Mass. Oct. 27, 2003)
*4 Phillips v. AWH Corp., 415 F.3d 1303, 1328 (Fed. Cir. 2005) (en banc)
*5 無限摺動用ボールスプライン軸受事件(最判平成10年2月24日 最高裁判所民事判例集52巻1号113頁)


Copyright 2007 KOHNO PATENT OFFICE