ソフトウェアの特許の事なら河野特許事務所

閉じる
一覧  |   トップ  


ソフトウェア特許の記載要件

〜MPFクレームにおける構造とは〜

AllVoice Computing PLC,
Plaintiff-Appellant,
v.
Nuance Communications, Inc.,
Defendant-Appellee


執筆者 弁理士 河野英仁
2007年12月20日

1.概要
 音声認識ソフトウェアに関する特許侵害訴訟事件を紹介する。クレームはMPF(Means Plus Function)形式で記載されており、対応する構造が明細書中に記載されているかが争点となった。ソフトウェア特許の場合、機械分野と異なり機能的な記載となることが多い。MPFクレームを用いない場合でも、機能的な記載の場合、MPFクレームと判断される場合がある*1ため注意が必要である。

 ソフトウェア特許の場合、「対応する構造とは何か?」という問題に直面する。ソフトウェアは希望する機能を記述したソースコードをコンパイルしてオブジェクトコードに変換し、コンピュータに当該機能を実行させる無形のものである。新たなハードウェアが付加される訳でもないことから、機械分野と異なりクレームに対応する構造は記述し難いという問題がある。

 地裁では、MPFクレームに対応する構造が記載されていないとして、特許無効との判決がなされた*2。CAFCは、ソフトウェア特許におけるMPFクレームにおいては、アルゴリズム構造(Algorithmic Structure)の記載があれば足りると判示し、地裁の判断を無効とした。

2.背景
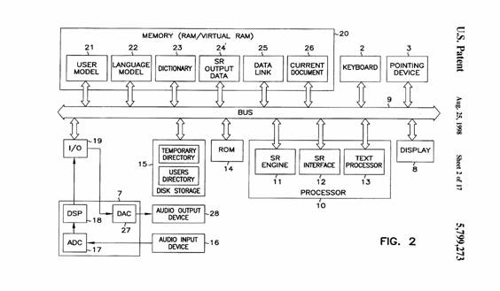
 AllVoice(以下、原告)はU.S. Patent No. 5,799,273(273特許)を所有している。273特許は音声認識エンジンと様々なエンドユーザアプリケーション(ワードプロセッサ等)との間のインターフェースに関する。図1は273特許に係る発明のハードウェア構成を示すブロック図である。

ハードウェア構成を示すブロック図
図1 ハードウェア構成を示すブロック図

 音声入力装置16から入力された音声は、プロセッサ10内の音声認識(Speech Recognition)エンジン11にて、音声認識が行われる。テキストプロセッサ13は例えば、Microsoft社のWord(登録商標)等のソフトウェアである。SRインターフェース12は本特許の中枢となる部分であり、認識した言語を複数のテキストプロセッサ13,13,13・・へ出力し、また音声出力装置28を介して認識した言語に係る音声を出力する機能を果たす。その他、テキストプロセッサ13において、認識した言語の位置が変更された場合でも、関連性を保持する機能を果たす。

 原告は、Nuance(以下、被告)の販売するDragon Naturally Speakingソフトウェアが、273特許のクレーム61等を侵害するとしてテキサス州連邦地方裁判所に訴えた。

 地裁はクレーム61に対応する構造が明細書中に記載されていないとし、米国特許法第112条パラグラフ2*3(以下、p2)を理由に特許無効との判決をなした。原告はこれを不服として控訴した。

3.CAFCでの争点
 ソフトウェア特許における構造とは何か?
 争点となった点は、クレーム61*4の次の構成要件である。
「一のアプリケーションとは無関係であり、音声データに少なくとも一つの認識言語を、前記一のアプリケーションとは無関係に関連づけるリンクデータを形成する手段(means for forming)」
「一のアプリケーションと無関係であり、前記一のアプリケーション内にて認識された言語の位置の変化に対応して、前記位置識別子を更新する手段(means for updating)」

 クレーム61はMPFクレームである。以下にMPFクレームに関し説明する。MPFクレームに関する根拠条文は米国特許法第112条p6である。米国特許法第112条p6は、以下のとおり規定している。
「組合せに係るクレームの要素は,その構造,材料又はそれを支える作用を詳述することなく,特定の機能を遂行するための手段又は工程として記載することができ,当該クレームは,明細書に記載された対応する構造,材料又は作用,及びそれらの均等物を対象としていると解釈されるものとする。」*5

 MPFクレームは、”means for 〜ing(〜する手段)”と表現される。日本の実務においては「手段」の記載が多用されており、米国で権利化する場合もMPFクレームを用いることができる。ただし、米国特許法第112条p6後段に規定のとおり、機能的な記載を認める代償として、その権利範囲は、明細書中に記載された対応する構造,材料又は作用,及びそれらの均等物と解釈される。

 そして、当業者がMPFクレームに対応する構造を明細書中で認識できない場合、及び、クレームにおける機能に関し構造と結びつけることができない場合、不明確とされる*6(米国特許法第112条p2)。

 本事件においてはソフトウェア特許の明細書において、どのような構造を記載すれば記載要件を満たすのか否かが問題となった。

4.CAFCの判断
MPFクレームに対応するアルゴリズム構造が記載されていれば要件を満たす。
 CAFCは、明細書のFig.4, Fig.8A及びコラム7の記載、並びに、原告証人の証言に基づき、対応するアルゴリズム構造が記載されているとし、273特許のクレーム61は有効であると判断した。

 273特許の明細書には、下記図2に示すリンクデータのデータ構造(Fig.4)及び図3に示すフローチャート(Fig.8A)、並びに、これらの説明が記載されていた。

リンクデータのデータ構造
図2 リンクデータのデータ構造(Fig.4)
フローチャート
図3 フローチャート(Fig.8A)

 CAFCは、クレームの明確性は当業者レベルに基づき判断しなければならないと述べた。そして、当業者が、Fig.4に示すリンクデータ構造、Fig.8Aに示すリンクデータ形成手段及び更新手段の処理内容を示すフローチャート、並びに、これらに関する明細書の記述を参酌すれば、十分にクレームに対応するアルゴリズム構造を理解できると判断した。

 つまりソフトウェア特許明細書においては、その対応する構造が何かを明確にし難いところ、当業者にとってクレームの範囲を適切に特徴づけるアルゴリズム構造が開示されていれば足りると判示したのである。

5.結論
 CAFCは記載が不明確であるとした地裁の判断を無効とし、地裁に対し本判決に従った審理を再度行うよう命じた。

6.コメント
 ソフトウェア特許のクレームを記載する場合、機械分野の特許と異なり、機能的・作用的な記載となることが多い。MPFクレームを用いた場合、上述の如く、米国特許法第112条p6の推定を受ける。これを回避するために、米国へ出願する際は、MPFクレームから別形式へ書き換えて出願、または、この書き換えたクレーム形式とMPFクレームとを併せて出願する実務がなされている。

 ただし、MPFクレームを使用していないからといって、安心はできない。MPFクレームを用いていない場合でも、上述した如く米国特許法第112条p6が適用される場合がある。具体的には以下の場合に、米国特許法第112条p6が適用される。 「クレームが十分明確な構造を記述していない場合」または、 「当該機能を達成するのに十分な構造を記述することなく機能を記述している場合」*1

 MIT事件(Mass. Inst. of Tech. v. Abacus Software., No. 05-1142 (Fed. Cir. 2006))においては、meansの文言は用いられていなかったが、「着色料選択機構」の記載が機能的であるとして、特許法第112条p6が適用された。つまり、機能的な記載となるソフトウェア特許の場合、MPFクレームを用いているか否かにかかわらず、米国特許法第112条p6適用の危険性がはらんでいる。

 本事件はソフトウェア特許明細書の記載要件に関するガイドラインとなる重要な判決である。以前は、ソフトウェア特許において対応する構造とは何かが明確にされていなかった*7。本事件においては、クレームに対応するアルゴリズム構造、すなわち、フローチャート及びこれに関する説明、がクレームに対応して適切に記載されている場合、112条p2の要件を満たすと判示された。

 273特許は、全体的なハードウェア構成図、コンピュータ内のハードウェアブロック図(Fig.2)、データレイアウト(Fig.3,4)及びフローチャート(Fig.8)を用い、非常に丁寧に記載されている。ソフトウェア特許の明細書作成の上で、参考となる。

 なお、本事件では、文言解釈及びベストモード要件に関する争点が他に存在したが、紙面の都合上割愛する。

判決 2007年10月12日
以 上
【関連事項】
判決の全文は連邦巡回控訴裁判所のホームページから閲覧することができます
[PDFファイル]。
http://www.cafc.uscourts.gov/opinions/06-1440.pdf

【注釈】
*1 CCS Fitness, Inc. v. Brunswick Corp., 288 F.3d 1359, 1369 (Fed. Cir. 2002)
詳細は、
http://www.knpt.com/contents/cafc/2006.11/2006.11.htm
を参照されたい。
*2 Allvoice Computing PLC v. Nuance Commc'ns, Inc., H-02-4471 (S.D. Tex. Feb. 22, 2006)
*3 米国特許法第112条p2は以下のとおり規定している。
「明細書は,出願人が自己の発明とみなす主題を特定し,明白にクレームする1 又は2 以上のクレームで終わらなければならない。」
特許庁HP
http://www.jpo.go.jp/shiryou/index.htm
*4 クレーム61はクレーム60の従属クレームである。クレーム60及び61は以下のとおり。
60. A universal speech-recognition interface that enables operative coupling of a
speech-recognition engine to at least any one of a plurality of different computer-related
applications, the universal speech-recognition interface comprising:
input means for receiving speech-recognition data including recognised words;
output means for outputting the recognised words into at least any one of the plurality of different computer-related applications to allow processing of the recognised words as input text; and
audio playback means for playing audio data associated with the recognised words.
61. The universal speech-recognition interface of claim 60, further comprising: means,
independent of the one computer-related application, for forming link data linking a portion of the audio data to at least one the recognised words independently of the one computer-related application, the link data comprising:
one or more audio identifiers which link a portion of the audio data to one or more recognised words; and
one or more position identifiers which link the recognised words to corresponding positions within the one computer-related application; and
means, independent of the one computer-related application, for updating the position identifiers in response to changes in positions of the recognised words within the one computer-related application.
*5 前掲特許庁HP
*6 Atmel Corp. v. Info. Storage Devices, Inc., 198 F.3d 1374, 1381-82 (Fed. Cir. 1999)
*7 ソフトウェア特許の記載要件に関する事件としてMed. Instrumentation事件がある(Med. Instrumentation and Diagnostics Corp. v. Elekta AB, 344 F.3d 1205, 1214 (Fed. Cir. 2003))。この事件では、ソフトウェアが変換機能にリンクされており、また、当業者が使用するためのプログラムの種類を知ることができる場合、特別なプログラムコードの開示は不要であると判示された。
 電気・電子関連特許の記載要件に関する事件として,Intel事件(Intel Corp. v. VIA Techs., Inc., 319 F.3d. 1357, 1366 (Fed. Cir. 2003))がある。この事件では、当業者が電子装置をどのように製造または改良するかを理解できる場合、電子装置の内部回路は、明細書に開示されている必要はないと判示された。 詳細は、拙稿「米国判例にみるコンピュータ関連発明の機能的記載における諸問題とその有効的活用」パテント 2004年4月号を参照されたい。
http://www.jpaa.or.jp/publication/patent/patent-lib/200404/jpaapatent200404_050-057.pdf

閉じる

Copyright 2007 KOHNO PATENT OFFICE